DTCM210-136-M58-AL
最高支持2‘’靶面(miàn)相機
申請報價
産品參數
産品圖紙
相關應用
産品參數
data
基本參數
支持CCD尺寸(Φmm)
33(2")
物方視場FOV(Φmm)
136
放大倍率β(x)
0.243
物方工作距WD(mm)
288±5
像方F/#
7.8
物方景深DOF(mm)
±10.8@F16
像方畸變(% max)
<0.1
物方遠心度(° max)
<0.1
物像距I/O(mm)
742±5
鏡頭總長(cháng)(mm)
441.5
鏡頭接口
M58
淨重(KG)
4.8
像方MTF30(lp/mm)
>110
視野範圍(mmxmm)
2" DALSA 12視低M(24.58x18.43)
101.2x75.8
2" PYTHON 25K(2煙訊3.04x23.04)
94.8x94.8
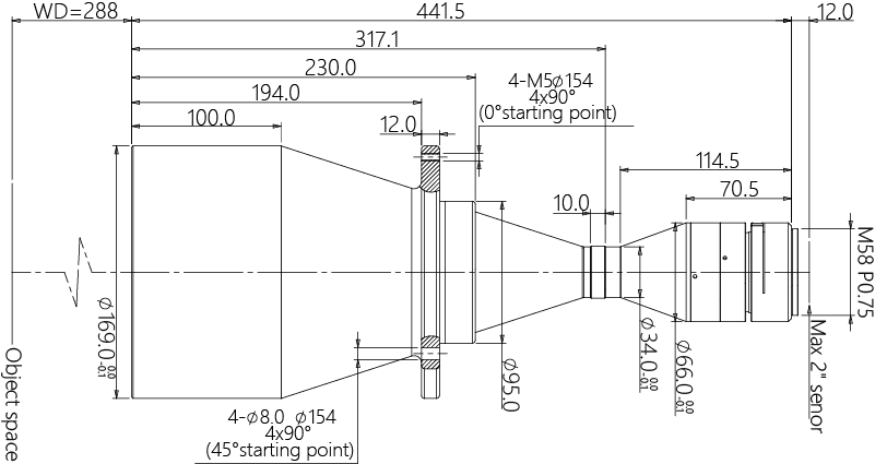
産品圖紙
drawing

結構圖




MTF曲線




相關應用
application