DTCM16K-80H-AL
最高支持16K/59mm靶面(miàn)相機
申請報價
産品參數
産品圖紙
相關應用
産品參數
data
基本參數
支持CCD尺寸(Φmm)
59
物方視場FOV(Φmm)
80
放大倍率β(x)
0.738
物方工作距WD(mm)
228±4
像方F/#
9.9
物方景深DOF(mm)
±1.6@F22
像方畸變(% max)
<0.1
物方遠心度(° max)
<0.1
物像距I/O(mm)
580±4
鏡頭總長(cháng)(mm)
340.0
鏡頭接口
M72
淨重(KG)
像方MTF30(lp/mm)
>85
視野範圍(mmxmm)
KAI-47051 (48.7x29.0)
66.0x39.3
Linescan-16K (57.4mm)
77.8
Linescan-8K (57.4mm)公鐵
77.8
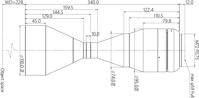
産品圖紙
drawing

結構圖



相關應用
application